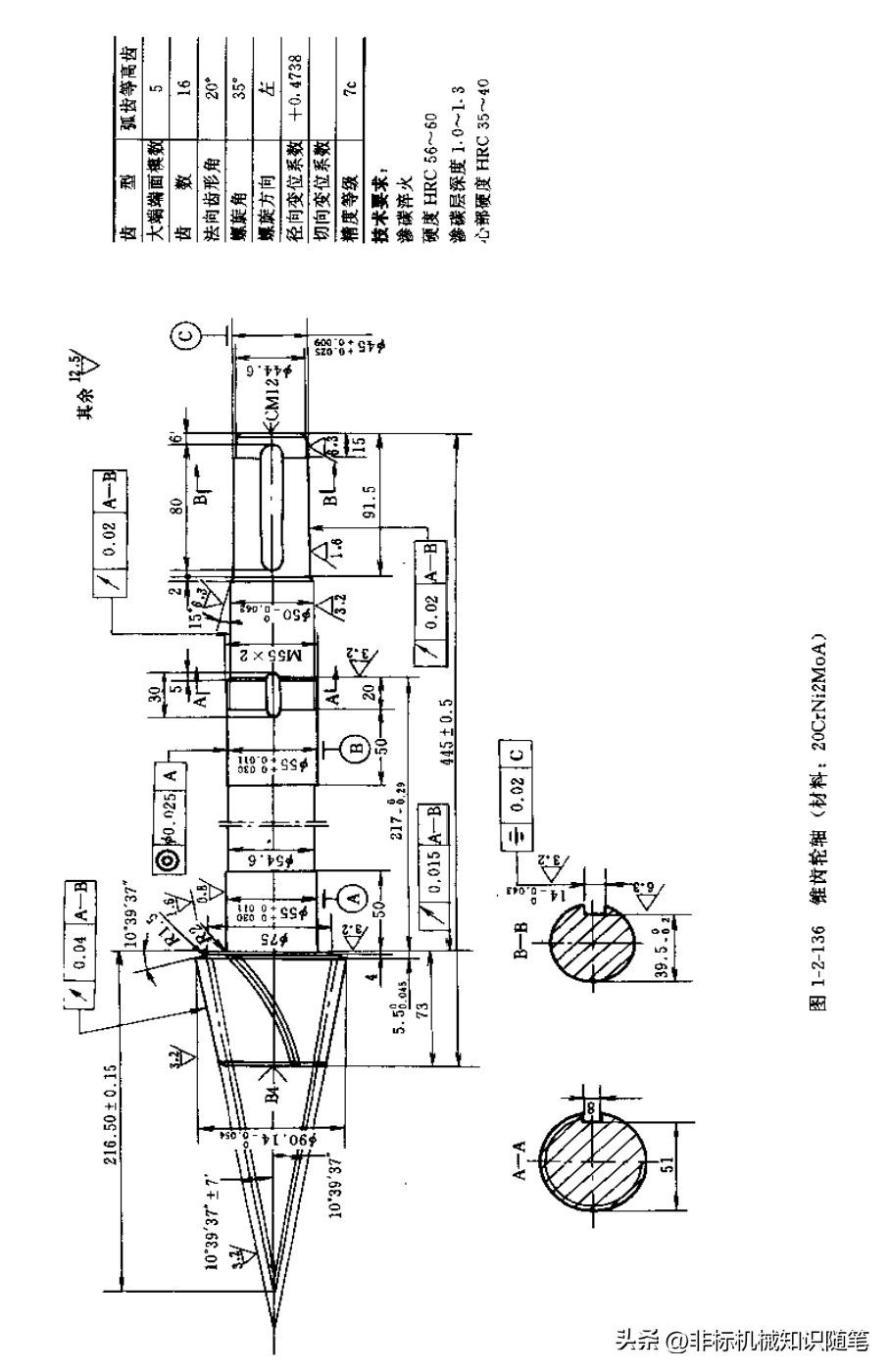
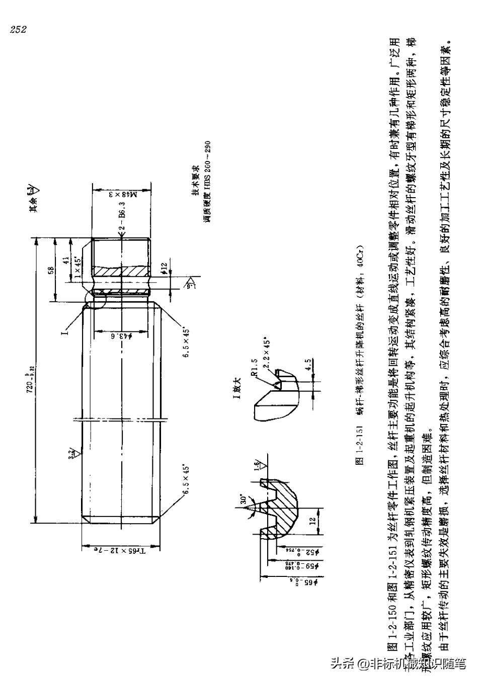
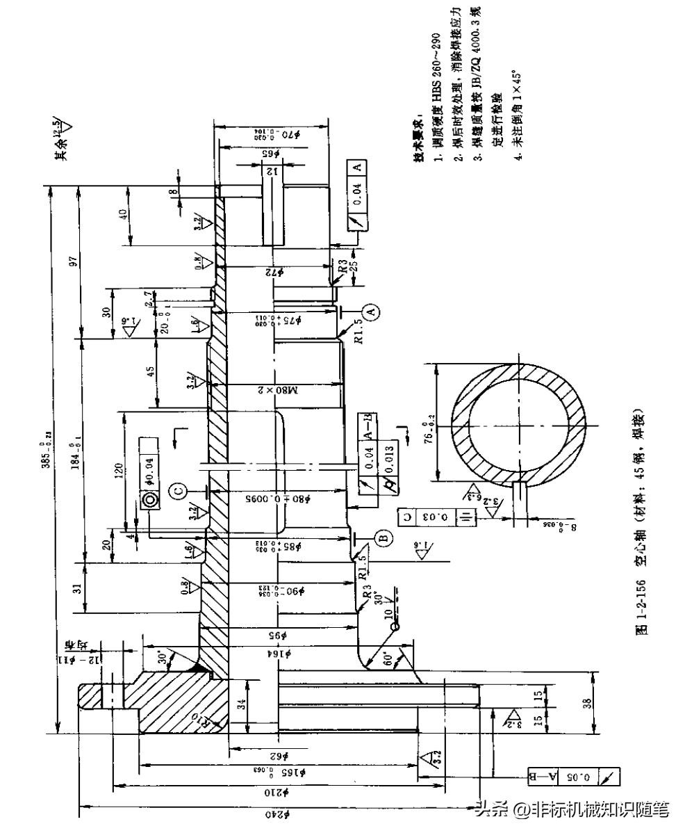
各种机械轴类零件的经典图纸,赶紧收藏!!
各种机械轴类零件的经典图纸,赶紧收藏!!




































各种机械轴类零件的经典图纸,赶紧收藏!!




































对于帆布鞋你不能不了解converse addict #球鞋博主上线##匡威 Converse[品牌]#说到converse帆布鞋想必大家在学生时代都穿过,这也算是一代人青春的回忆了。我们最常见...
德国铁元,真有那么“神奇”的功效吗? 德国铁元是一款“天然有机提取物” “水果果汁混合物”,号称具有多种功效,比如:体能下降、脸色苍白无血色、免疫...
北京一男子约会三名女子被灌醉,醒来发现17万被转走! 近日,北京市发生了一起令人震惊的盗窃案件。一名男子在与三名女子约会时,被对方灌醉并趁机转走了...
现在的摩梭族是怎样“走婚”的? 提到摩梭族,“走婚”就是一个永远都绕不开的话题。 摩梭人主要生活在四川、云南交界处的丽江市泸沽湖畔。神秘的泸沽湖以...
吴希泽何泓姗恋情曝光,手拉手逛街感情甜蜜,双方年龄相差9岁 最近这段时间,娱乐圈的恋情瓜一直都没断过,15日,有媒体拍到吴希泽与何泓姗手拉着手一起逛...
网红猪现象:旅游热点与动物福利的冲突 近期,广东深圳梧桐山景区内的一只野猪因游客投喂而成为网红猪,吸引了大量的关注和讨论。然而,这个看似有趣的现...
泰森复出打比赛,身上纹身成焦点 迈克·泰森,这位被誉为“铁麦”的前世界重量级拳王,以其强大的力量和独特的比赛风格闻名于世。在他宣布复出并准备重返...
清华才女武亦姝硬笔字如行云流水,一起来看看! 中国诗词大会造就了不少少年才俊,不仅使得国学得到了更好的发扬,而且“国学”才是文化之基的理念,也更...
就在今天,澳门世界杯分组全部出炉,孙颖莎轻松,国乒小将打硬仗 北京时间4月13日澳门世界杯抽签仪式拉开序幕,本届采取两个阶段的赛制,首阶段分成16个小...
金瓶掣签制度 昨天发了班禅达赖世系表,好多网友问我班禅达赖是怎么确定的,咱们今天就说一说大活佛确定的一个重要制度,就是“金瓶掣签” 金瓶掣签,又称...
还在抱怨出国签证难办?那是你不知道中国签证多难办 出国热这几年是越来越火热,有的人是出国旅游,有的是出国学习,不管怎样困扰他们的一大难题就是出国...
周杰伦杭州演唱会观众同场音乐盛宴点燃城市之夜 近日,备受瞩目的音乐巨星周杰伦在杭州举办了一场盛大的演唱会。这场演唱会不仅汇聚了众多歌迷,更是一场...
犹太教和基督教中的重要律法——十诫 十戒,也称摩西十诫,是犹太教和基督教中的重要律法,被认为是上帝向人类传达的道德规范和行为准则。 以下是十戒的具...
我国将军县红安出了多少位将军? 红安原名黄安,红安县位于中国湖北省东北部,是黄冈市的下辖县,是我国著名的将军县之一。自中国共产党成立领导人民求解...
天九共享集团你们了解多少 把握数字新时代 关于天九共享集团,你了解多少?天九共享集团作为全球企业赋能平台领域的龙头企业,正在积极把握数字新经济时代...
入团有什么用?你入团了吗?入团知识全面解析 在小学的时候,相信我们每个人都成为了一名少先队员,每天都佩戴红领巾。到了初中,我们开始逐步具备入团的...
拼多多为什么会支持买家仅退款?看完网友的评论,我沉默许久 【拼多多仅退款,是商业策略还是社会责任?】 在这个看似简单的“拼多多仅退款”策略,我们看...
揭秘地震前的神秘天象光,地震光 近日,网络上热传一系列地震前的天空神秘景象,被网友们热议是否是地震前兆。这些照片中,特殊的光束穿越云层,犹如一场...
“我喜欢你”用文言文怎么说?让女生听了瞬间红了脸,脱单必备! 相信“我喜欢你”是很多人在表白的时候用到的一句话了,但是有时候会不会感觉这样一句话...
“扁粉菜”河南安阳古城特色早餐,一吃忘不掉的美食 扁粉菜 是 河南省安阳市 的传统特色小吃之一,属于豫菜系。也是安阳居民近百年来最爱吃的特色早餐之一...